索尼全新专利曝光:工作站/服务器秒变PS游戏开发机

单机电玩 / 139人浏览 / 0人评论

8 月 20 日消息,外媒 Tech4Gamers 昨天曝光了一项索尼的全新专利,其形态类似传统的 PCIe 扩展卡,可让 PC 工作站 / 服务器“摇身一变”成为 PlayStation 开发机。

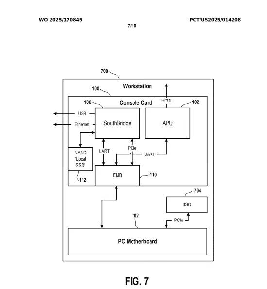
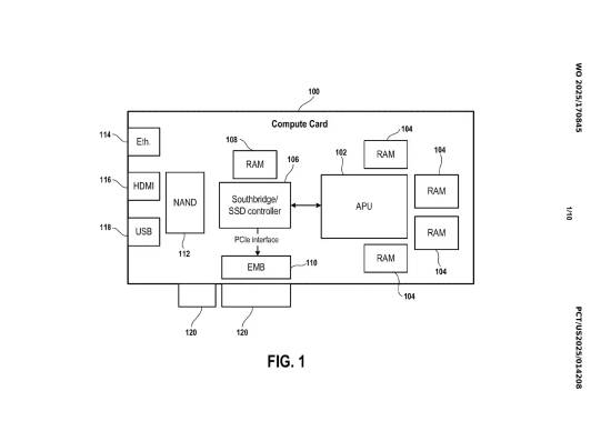
据介绍,这项专利的核心思路是将开发平台转变为可直接插入的 PCIe 扩展卡,告别笨重且稀缺的传统开发机。板卡上含有与常规 PlayStation 游戏机几乎相同的硬件。

同时板卡中还配有一种名为“端点管理桥(Endpoint Management Bridge)”的特殊芯片,可用于协调宿主 PC / 服务器与扩展卡之间的通信。

专利还展望了这张板卡的应用范围,如下:

可用于构建远程开发机服务器,让全球开发者通过网络访问

可直接插在普通 PC 上,让常规 PC 成为开发机,直接用于主机游戏开发

索尼还在专利描述文件中表示,主机的独占性让开发游戏变得比较复杂,现有的专用开发机也不便适配云端环境,因此他们提出用这种 PCIe 扩展卡替代传统的开发机。